This is a brand new setup replacing the ME-MS2000 Inverter with Cerbo GX Mk2 start-stop Onan RV QD 8000 Genset with Multiplus-II 2x120V and SmartSolar MPPT 250/100 and Lithium Batteries. I have heard there is a simple way to run two or three wires to my diesel Onan to control start stop run functions using Cerbo GX Mk2 relays, instead of adding 2 external GRT8-M1 relays via the Multiplus-II. The Onan Energy Command 30 is still in place but not recommended for AGS functions.
Thank you.
What gauge wire is best for a 4 meter run?
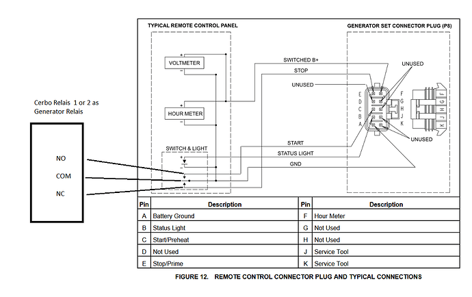
Is this 3 wires spliced into C-A-E pins or do I need to add switch/relay?
For this short distance, 16 AWG … 1.5 mm² should be perfectly adequate …
Take a look at the function of relay 1 of the GX … here you can also define a function that monitors the mains supply to ACin 1 … and then switches off the generator.
Thanks again, do I need the 2 or 4 timer relays (as seen in other posts) or are these 3 wires spliced into Start-Stop-Common at existing switch pins?
With such a low load, you can connect the 3 pins directly. The relay can easily handle this “load.”
Use relay 1 from the GX… it can be used directly as a generator relay… including all parameters.
A little tip… If you “reply” directly to my answer… it will also be displayed to me. Otherwise, the post will simply disappear… if I don’t check ![]()
Start and Stop are obvious, which is Common?
Just to confirm, this is Diesel, which i believe has a 3 wire system.
Thanks
In the drawing, it is switched against ground… so pin 1 (GND) will be the common contact.
Every Onan generator we’ve ever had come through our shop - diesel, gasoline, or propane - has a 3-wire start. But, the diesels function a bit differently in that need a period of time to prime the engine and start the glow plugs before cranking the engine. So I believe you need to trigger “stop” for 5 seconds to prime the engine and then trigger “start” to engage the starter and ignition. Then to stop the generator you trigger “stop” again. The exact process and delay times depend on the engine type of the Onan. This is why we usually end up using a GSCM module from Atkinson Electronics. Their new WiFi model replaces all the engine-specific models of the GSCM. It’s essentially a series of programmable relays with programmable delays.
I’ve not tried using a single relay in the Cerbo to start/stop an Onan before and I didn’t think it would work. I’m still not convinced, but I want to try it. The start/stop logic of an Onan doesn’t seem to match the generator start/stop logic on the GX. I’ll give it a try and see how it goes.
I can say the GSCM-WiFi from Atkinson works well along with a single relay on the Cerbo.
THis is not working. NOTHING happens.
Here is what happens - When I actually press the manual start button – the fuel pump begins running and the glow plug ignites for 5 to 30 seconds (depending on the ambient temperature). After the 5 to 30 seconds the starter engages and the generator is now running. That is when I am able to release the manual start button.
Thanks Ed, but i would not bother trying - I can see how one day with a major update the Cerbo Gx may be able to accomplish this, but not the Mk2 version.
I am a little confused about this forum, being my first post ever on any forum, I assumed the person who took the time to try and help me would actually give helpful advice. Is there a way to get reliable advice? Should I post this somewhere else? Maybe another category?
Thanks for any Light you can shed. I have seen examples of this working with 2 relays and 4 relays. I have had issues with Onan auto-start NOT actually working because it got so cold one night that the start time increased due to cold, but Onan command did not compensate, Yes, the cold darkness woke me up to do it manually.. I’m curious if with 4 or more relays, I can set up scene to handle such a thing.
Thanks again
I think your expectations of timely, accurate, and FREE advice coupled with the way you asked the original question is your larger issue. Asking “who can help with the details"?” comes across as you thinking you are entitled to help. I didn’t respond to your initial post because of that. Remember, this is all voluntary. To anyone new to the community: be humble, be polite, and be succinct.
This isn’t a “problem” with the Cerbo GX. Most all other generator start/stop systems that I’m aware of are built to start real generators, which primarily come with two-wire start. The Onan generators are cheap and their on-board controllers don’t have many features. Not having a built-in controller that can handle all the autostart needs with just two wires is indicative of that. Unfortunately, Onan and to a lesser extent RVMP, supply most of the on-board generators in RV’s in the USA. So, we create workarounds for their deficiencies.
Atkinson Electronics has a solution for your needs.Check them out here: Generator Products
Rightly stated. I am treating this forum (my first ever post to any forum) the same way I treat chatGPT, I am not used to factoring in emotions.
Thanks for the Clarifications. I will try to do better in the future. I really do love it when someone will just give you reasons behind the reasons, being on the autistic spectrum has its social disadvantages.
Back to the subject at hand; this all began after deciding to add a few solar panels to my “Solar Ready” RV (what an understatement). That went from 2 to 10 very quickly and i still had no idea what I had set in motion. Next came the 6 Li batteries, then my MS2000 was “incompatible”, which I’m sure you know where this is going, yes, I sitting here trying to figure where to install the 6th and 7th new Victron devices (because of incompatibility) -Orion XS for alternator and Autotransformer for generator. I looked at the Atkinson product but still looking for details or diagrams and verification on how it will connect with the onan diesel. Thanks again for your honesty.
Here is a wiring diagram for their older GSCM line for the QD 8kW Onan:
This would be the GSCM-Mini-D module. The GSCM-Wifi is similar. Send an email to cbdsales@atkinsonel.com and ask them for the wiring diagram for their GSCM-WiFi. Give them your exact Onan model and they will send you a wiring diagram.
Have you contacted a local Victron installer or distributor to get their help designing your system and providing support? For example, I wouldn’t recommend an Autotransformer. What is the purpose?
It seems there are many models of the GSCM, will the “wifi“ model work for Onan RV QD 8000 using Cerbo GX Mk2?
No, have not contacted anyone local, I noticed while running genset only L1 was visible to the 12/3000/120-50 2x120V -
apparently due to being in-phase, so the transformer was suggested to correct that. (There are 2 x 30amp legs handled by the PS ATS.)
Thanks, I’ll send email, and I would love to NOT have to find room for this huge new piece of my puzzle!
You won’t fully load up the generator with a single (or even two) of the 12/3000 2x-120V inverters, but two in parallel would do better than one. See this thread here that was recently posted: Upgrading my Motorhome from 12v house batteries to 48v batteries
I’m Not likely to add another inverter either!
It makes no sense that although Victron inverter alters out of Phase 240v and puts it In-phase; but it cant just leave the 2 x 120v In-Phase coming from genset alone, as it is already providing what it has accomplished from altering shore power.
When I decided to move from the ME 2000w to 3000w I had no idea the Victron system was going to be such an arduous gatekeeper. I cant imagine how to bypass it for any shore power in the event of a true failure. I would really love to NOT install this AutoTransformer - purpose to create out of phase 240 from genset so inverter will use both 120 legs. You mentioned add a Charger?
Thanks again,
That’s not how the 2x-120V works. It’s described in the manual, so check it out. It doesn’t alter the phase rotation of the incoming phases. Cheers!
Would those be to separate L1&L2 or Shore & Generator? How would they handle old breaker box?
You wire them in parallel, so L1 & L1 from each inverter go to one side of the existing breaker panel and L2 & L2 go to the other side. On a 2x-120V, only L1 is used for charging and since your generator outputs two 120V outputs that are in phase, take one of the generator outputs to L1 on inverter one and wire the other generator output to L2 on inverter two. If you have a transfer switch in the vehicle, then one of the generator outputs feeds L1 on the generator input of the ATS and the other generator output feeds L2 on the generator input of the ATS. A 50A RV can be thought of as having two separate 120V inputs. They just happen to be out of phase on the shore power input if you are connected a 50A shore power connection, but you never use phase-to-phase voltage of 240V in an RV.


